Contact Best Process EquipmentRequest a Quote
Neptune Chemical Pump Co. Logo

Neptune's Sample Coolers in a variety of sizes
Request Free Information
Neptune Sample Coolers

Neptune Sample Coolers are purpose-built for cooling hot water or steam samples for easy handling and effective sample collection. These sample coolers are suitable for use on hot water, saturated steam, or superheated steam services, and is also available in a cleanable configuration.

Standard Sample Cooler (SC-316 & SC-600) Features:

  • Rugged all-welded construction
  • Internal baffles to insure maximum heat transfer
  • Heat exchange area – one sq. ft.
  • Design pressure – 3500 psi at 750°F
  • Available in all 316SS or with Inconel 600 coil and 316SS shell

Cleanable Sample Cooler (SC-100) Extra Features:

  • 316SS coil with carbon steel shell
  • Designed for simple removal of coil for inspection and cleaning
  • Design pressure – 1500 psi at 600°F
  • Tubing tails which may be formed by a tubing bender for various angles of sample entry and exit
  Neptune Sample Cooler Specifications
  Material Pressure Rating Water Flow Pressure Drop
Model Coil Shell Coil Shell Coil Shell
SC-316* 316 SS 316 SS 3500 psi 250 psi 55 psig @
250 lbs/hr
3 psig @
3 gpm
SC-600* Inconel 600 316 SS 3500 psi 250 psi 55 psig @
250 lbs/hr
3 psig @
3 gpm
SC-100† 316 SS Steel 1500 psi 200 psi 55 psig @
250 lbs/hr
3 psig @
3 gpm

* Maximum Operating Temperature: 750°F (400°C).
 Maximum Operating Temperature: 600°F (315°C).

Sample Cooler Performance:

Assuming a coolant inlet of approximately 55°F (12°C) and exit of approximately 120°F (50°C), and a sample exit of approximately 110°F (43°C), the cooler will provide performance approximately per the ranges described below.

Hot Water Samples:

  • At 250°F (120°C), approximately 1,500 CC/Min of sample will be produced using 1 gallon per minute of coolant.
  • At 700°F (370°C), approximately 950 CC/Min of sample will be produced using 2.5 gallons per minute of coolant.

Saturated Steam Vapor: The sample inlet and exit valves can be used to create various operating pressures in the cooler for producing samples from saturated steam vapor.

  • At 175 psia operating pressure, 640 CC/Min of sample will be produced using approximately 3 gallons per minute of coolant.
  • At 25 psia operating pressure, 300 CC/Min of sample will be produced using approximately 1.5 gallons per minute of coolant.

Superheated Steam: Maximum sample inlet temperature of 750°F (400°C).

  • 1,000 psia cooler operating pressure produces 640 CC/Min of sample at 3.5 gpm coolant flow.
  • 20 psia cooler operating pressure produces 315 CC/Min of sample at 1.75 gpm coolant flow.

Sample Cooler Installation:

Proper installation requires valves on sample inlet and cooling water inlet for hot water service. An additional valve must be installed on the sample outlet for all vapor or steam services to obtain required operating pressures in the coil.

Proper installation in superheated steam service also requires precooling the sample to 750°F (400°C), the maximum design operating temperature of the Neptune Sample Cooler.

Precooling can be accomplished by installing a pipe between the main steam header and the sample cooler to radiate excess heat. The length of the pipe is determined from the chart at left.


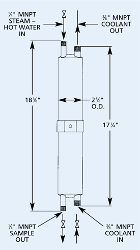
Models SC-316 and SC-600

Model SC-100 Cleanable

Hours of Operation:
Monday – Friday, 8:30 a.m. – 5 p.m. EST

Best Process EquipmentToll-Free: (866) 875-9303 • Toll-Free Fax: (866) 551-9644
Email: info@bestprocessequipment.com
We accept Visa and Mastercard
Terms & ConditionsPrivacy Policy
Copyright © 2026 Best Process Equipment. All rights reserved.